turing
A propos de l'Espace-Turing | Partenaires | Nous contacter
twitter  facebook rss youtube
Accueil > Almanach > Historique > Attribution du brevet du "Circuit Intégré" à Robert Noyce
Attribution du brevet du "Circuit Intégré" à Robert Noyce
25 avril 1961


jeudi 25 avril 2013

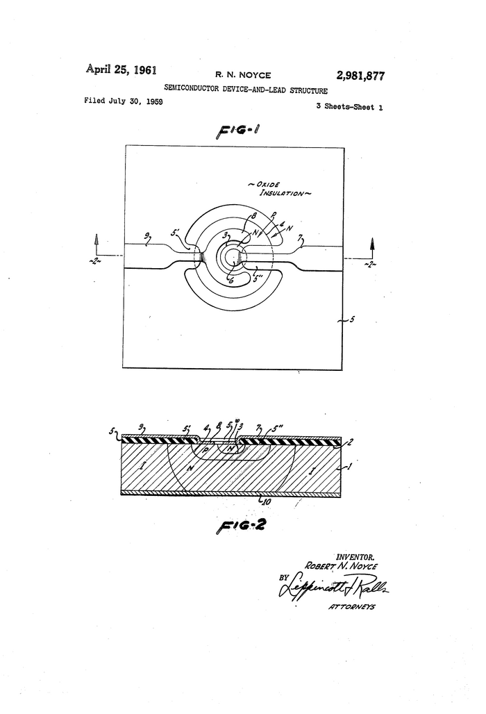
Le "US Patent Office" attribue à Robert Noyce un brevet pour le circuit intégré, lançant une longue bataille avec Jack Kilby pour savoir qui détenait les droits sur le brevet. Kilby avait inventé une version au germanium, tandis que Noyce utilisait le silicium - de plus en plus utilisé. Les circuits intégrés ont remplacé les vieux transistors des ordinateurs, permettant aux machines d’être beaucoup plus petites. (Source CHM)

info portfolio

Répondre à cet article


Suivre la vie du site RSS 2.0 | Plan du site | Espace privé | SPIP | squelette | Contact site : marc.monticelli [at] unice [point] fr