turing
A propos de l'Espace-Turing | Partenaires | Nous contacter
twitter  facebook rss youtube
Accueil > Almanach > Historique > Robert Dennard (IBM) obtient un brevet pour la Mémoire Dynamique (DRAM)
Robert Dennard (IBM) obtient un brevet pour la Mémoire Dynamique (DRAM)
4 juin 1968


mardi 4 juin 2013

Voir en ligne : http://web.mit.edu/invent/iow/Denna...

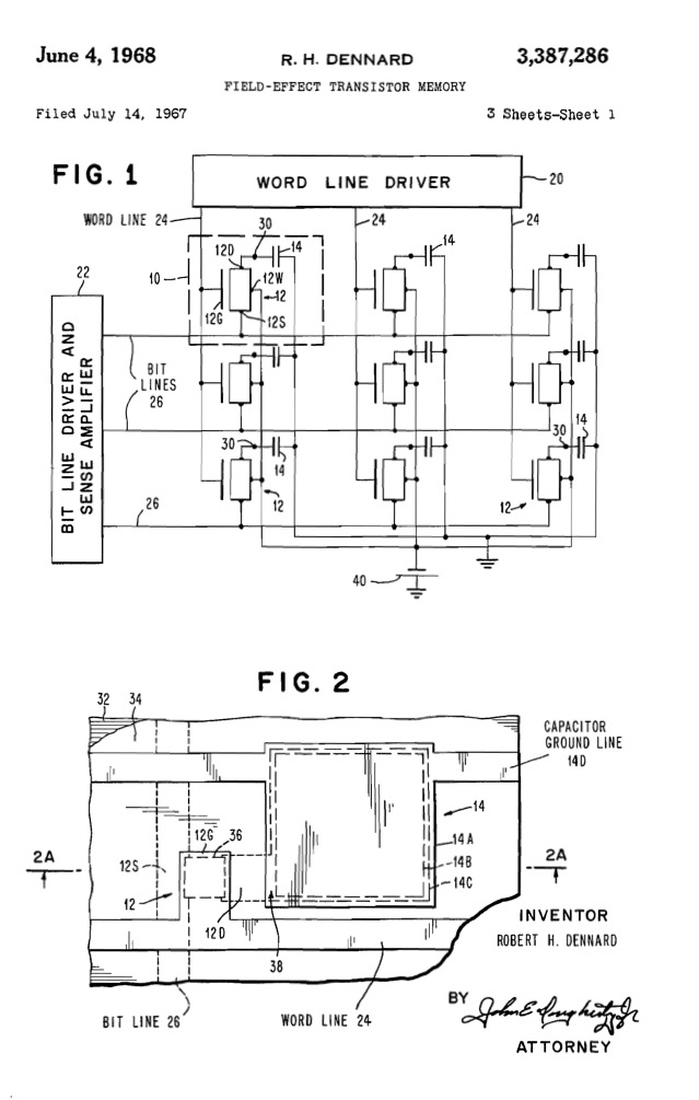
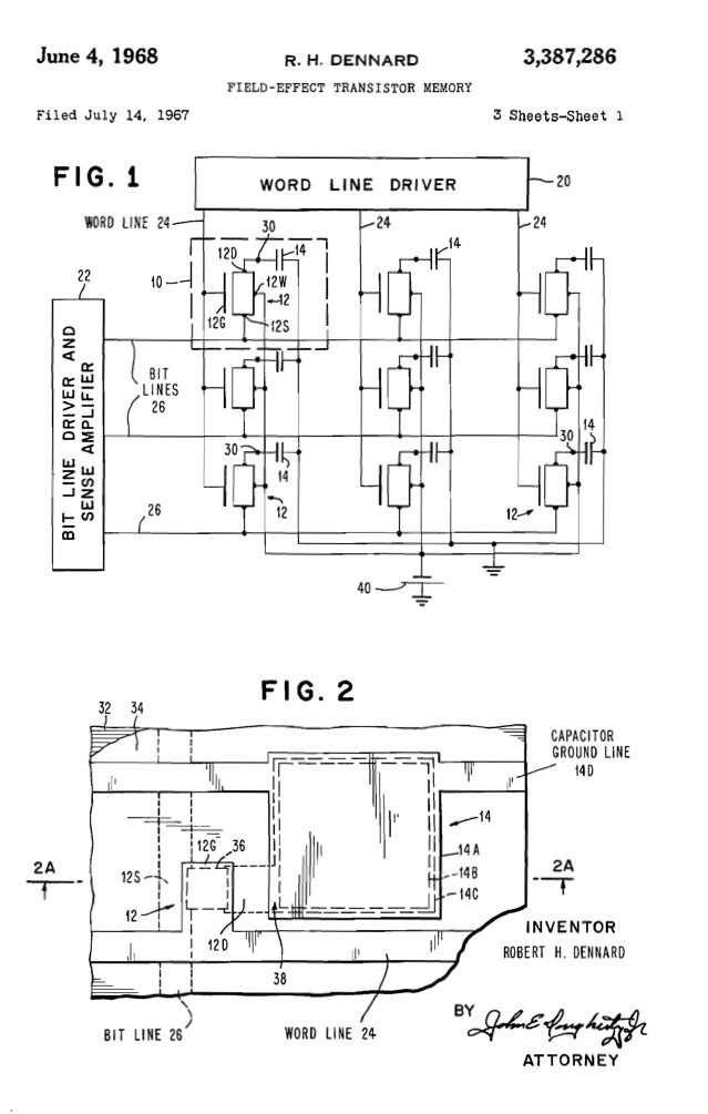
La mémoire dynamique à accès direct, en anglais DRAM pour Dynamic Random Access Memory est un type de mémoire électronique à accès arbitraire dite Random Access Memory (RAM).

La simplicité structurelle de la DRAM - un pico-condensateur et un transistor pour un bit - permet d’obtenir une densité élevée. Son désavantage réside dans les courants de fuite des pico-condensateurs : l’information disparaît à moins que la charge des condensateurs ne soit rafraîchie avec une période de quelques millisecondes. D’où le terme de dynamique. A contrario les mémoires statiques SRAM n’ont pas besoin de rafraîchissement mais utilisent plus d’espace.

(Source Wikipedia)

info portfolio

titre documents joints


Suivre la vie du site RSS 2.0 | Plan du site | Espace privé | SPIP | squelette | Contact site : marc.monticelli [at] unice [point] fr